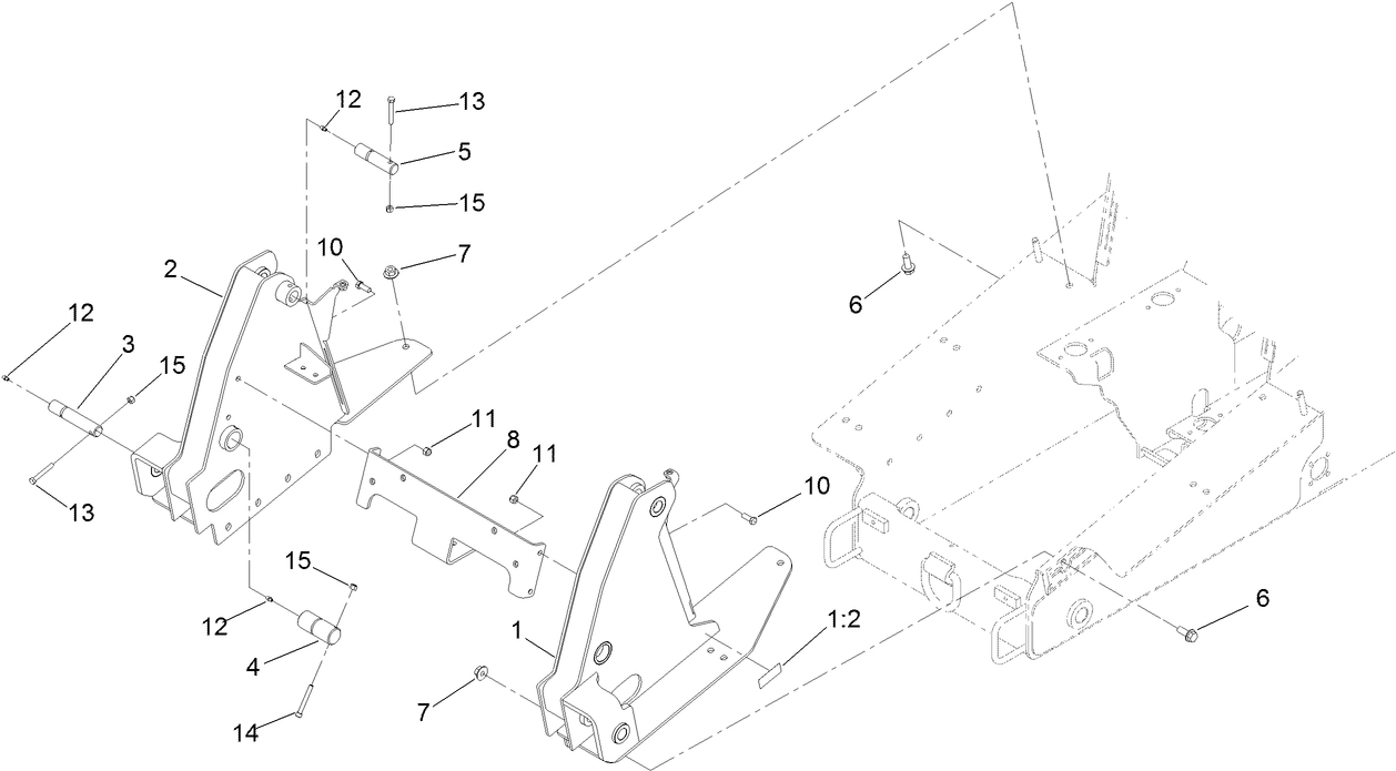
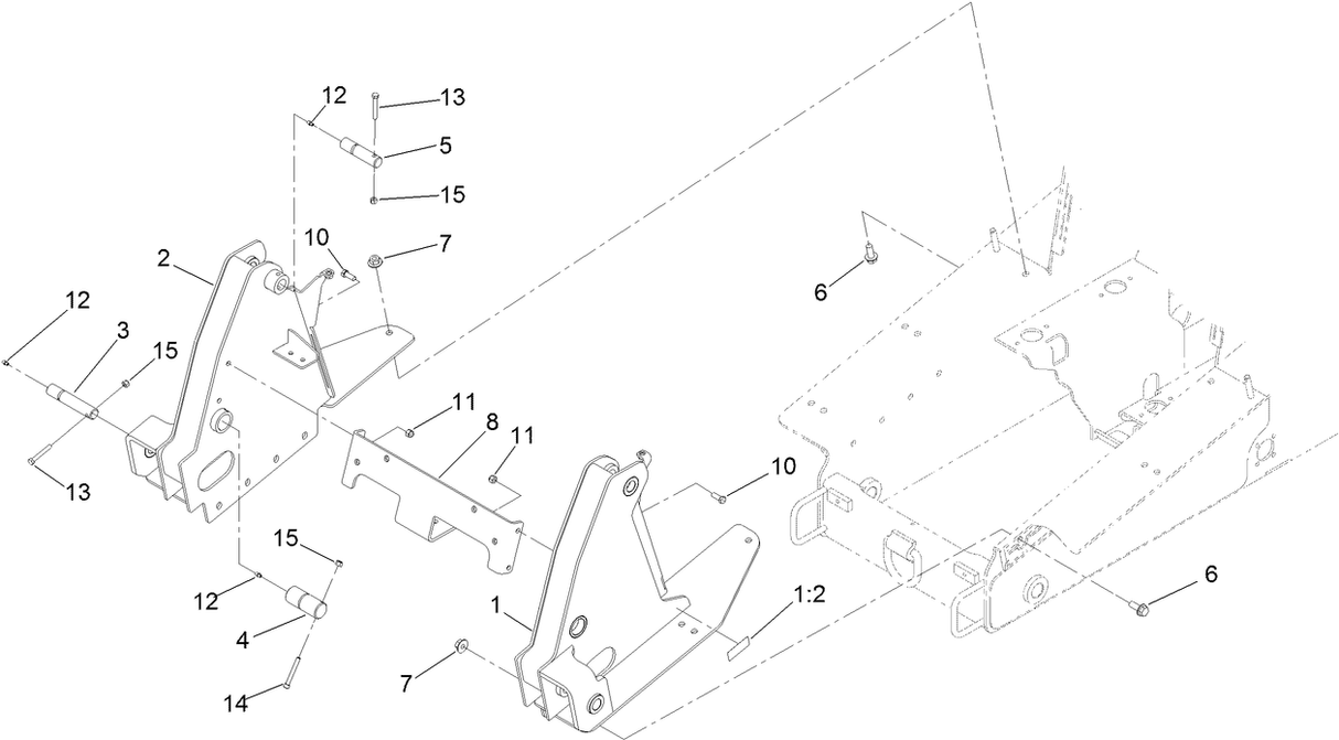
Title: PLATE-CROSS, TOWER (Part #:125-3667-03)
Part Description: PLATE-CROSS, TOWER
Models:
- 22327 (Dingo TX 1000-Narrow)
- 22328 (Dingo TX 1000-Wide)
Serial Ranges:
- 315000001 - 315999999
- 316000001 - 316000163
- 316000001 - 316000199
- 316000164 - 316999999
- 316000200 - 316999999
- 400000000 - 400413999
- 400414000 - 401321134
- 400414000 - 401899999
- 401321135 - 401999999
- 401900000 - 401999999
- 402000000 - 403329999
- 402000000 - 404356213
- 403330000 - 404356213
- 404356214 - 405799999
- 405800000 - 406724947
- 406724948 - 407099999
- 407100000 - 407399999
- 407400000 - 407999999
- 408000000 - 408833892
- 408000000 - 408899999
- 408338893 - 409549999
- 408900000 - 408963399
- 408963400 - 409588175
- 409550000 - 409939999
- 409588176 - 409985646
- 409940000 - 411509999
- 409985647 - 410499999
- 410500000 - 411839999
- 411510000 - 411899999
- 411840000 - 412438202
- 411900000 - 412549819
- 412438203 - 412899999
- 412549820 - 412764339
- 412764340 - 412899999
- 412900000 - 415399999
- 415400000 - 999999999