Dingo Power

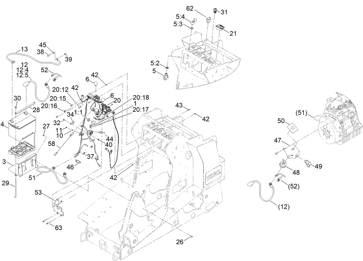
BRACKET (Part #:140-5895-0P)

$36.33

Product Details

Title: BRACKET (Part #:140-5895-0P)

Part Description: BRACKET

Models:

  • 22327 (Dingo TX 1000-Narrow)
  • 22328 (Dingo TX 1000-Wide)

Serial Ranges:

  • 408000000 - 408833892
  • 408338893 - 409549999
  • 408900000 - 408963399
  • 408963400 - 409588175
  • 409550000 - 409939999
  • 409588176 - 409985646
  • 409940000 - 411509999
  • 409985647 - 410499999
  • 410500000 - 411839999
  • 411510000 - 411899999
  • 411840000 - 412438202
  • 411900000 - 412549819
  • 412438203 - 412899999
  • 412549820 - 412764339
  • 412764340 - 412899999
  • 412900000 - 415399999
  • 415400000 - 999999999