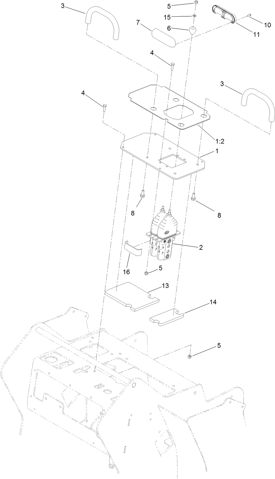
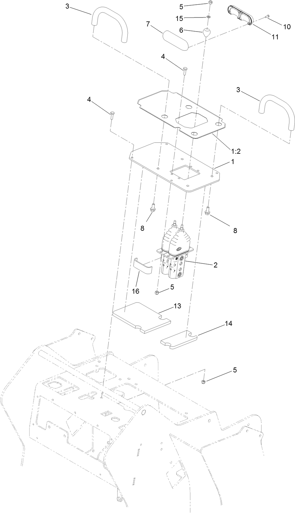
Title: VALVE-CONTROL (Part #:125-3704)
Part Description: VALVE-CONTROL
Models:
- 22327 (Dingo TX 1000-Narrow)
- 22328 (Dingo TX 1000-Wide)
Serial Ranges:
- 315000001 - 315999999
- 316000001 - 316000163
- 316000001 - 316000199
- 316000164 - 316999999
- 316000200 - 316999999
- 400000000 - 400413999
- 400414000 - 401321134
- 400414000 - 401899999
- 401321135 - 401999999
- 401900000 - 401999999
- 402000000 - 403329999
- 402000000 - 404356213
- 403330000 - 404356213
- 404356214 - 405799999
- 405800000 - 406724947
- 406724948 - 407099999
- 407100000 - 407399999
- 407400000 - 407999999
- 408000000 - 408899999