Dingo Power
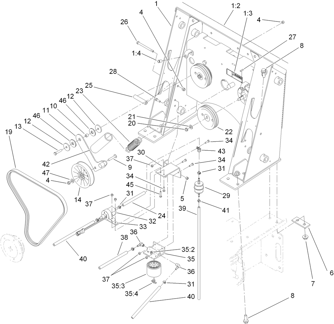
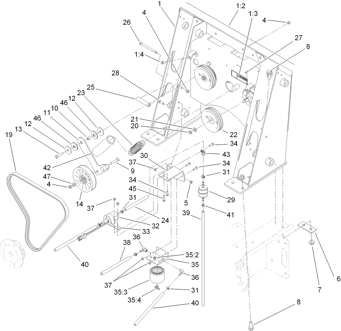
Title: FILTER HEAD ASM (Part #:109-2678)
Part Description: FILTER HEAD ASM
Models:
Serial Ranges:
FILTER HEAD ASM (Part #:109-2678)
TX-1000 Tandem Pump Parts
Tracks
General Parts
Filter Kits
Upgrade Parts
Your cart is empty
Subtotal:$0.00 USD
Loading...